
Стіл-книжка – дуже популярний і універсальний вид меблів. У складеному вигляді він займає мало місця, але при необхідності перетворюється на великий стіл.
У магазинах продаються столи-книжки на будь-який смак, але і коштують вони чимало. А адже таку потрібну і практичну річ цілком можна виготовити самостійно.
Як зробити стіл-книжку своїми руками і що для цього необхідно, читайте в нашій статті.
Зміст:
- Види столів-книжок
- Стіл-книжка з тумбою
- Матеріали і інструменти
- Етапи роботи
Види столів-книжок
Існує багато видів столів-книжок, і у кожного є свої плюси і мінуси. Тому потрібно визначитися, який підійде саме вам.
Розглянемо кілька варіантів:
- Стіл-книжка з полицями
Такі столи ви можете пам’ятати ще з часів СРСР, але подібні моделі випускаються і сьогодні.
Стіл складається з однієї вузької стільниці-каркасу, яка обрамляється з двох боків великими, вони розкладаються.
В зібраному вигляді нагадують тумбочку.
Можна розкрити тільки одну половину.
- Стіл-книжка зі стільцями
Внутрішньо простір цієї моделі столу-книжки не включена ящиками або полицями, там компактно розміщується кілька складних стільців. Дуже зручно для маленької квартири: невелика тумба вміщує цілий кухонна стіна.

- Стіл-книжка з баром
Цікавий варіант для кухні або вітальні — міні-бар у столі. При необхідності напої виїжджають з тумби в викочування кошику.

- Журнальний стіл-книжка
Має стандартні функції столу-книжки. Просто його роблять менше, щоб відповідав характеристикам журнального столу. Дуже зручна і стильна річ, відмінно підійде для будь-якого інтер’єру.

Журнальний стіл-трансформер міні-книжка.
Компактний і практичний стіл-книжка чудово впишеться в сучасний дизайн кухні або вітальні. Використання різних матеріалів і різноманіття забарвлень дозволяють підібрати столик до будь-якого інтер’єру, будь то червона кухня або кухня в коричнево-бежевих тонах.

Ті, хто віддає перевагу кухню в стилі хай-тек, можуть вибрати скляний стіл з металевими ніжками.
Зверніть увагу: столи-книжки з ящиками і полицями, зайнятими речами, досить важкі, і пересувати їх доводиться удвох. Вдале рішення – поставити стіл на коліщатка. Його можна без праці переміщати в приміщенні.
Стіл-книжка з тумбою
У складеному стані такий стіл нагадує тумбу з ящиками і полицями. Зазвичай його вибирають господині. У ньому дуже зручно зберігати різні речі.
Крім того, стіл відмінно підійде для жінки, яка займається шиттям, так як його можна легко перетворити в робоче місце (як зробити швейний стіл, читайте в цій статті).
Опори біля столу-книжки можуть бути дерев’яними та хромованими. За якістю вони не відрізняються, обидві опори стійкі. Ви можете вибрати той варіант, який більше підходить під інтер’єр.
Матеріали і інструменти
Щоб зробити таку модель столу-книжки, необхідно вирізати з ламінованих ДСП і ДВП згідно з зазначеними розмірами наступні заготовкии:

Крім того, для виготовлення столу будуть потрібні:

Також знадобляться такі інструменти:
- олівець, рулетка;
- хрестова викрутка або шуруповерт;
- ключ-шестигранник (4 мм);
- електролобзик;
- молоток.
Візьміть до відома: ламіновані деревно-стружкові плити складно розкроїти в домашніх умовах. Можна скласти схему розкрою і звернутися в майстерню, де фахівці виріжуть деталі столу.
Етапи роботи
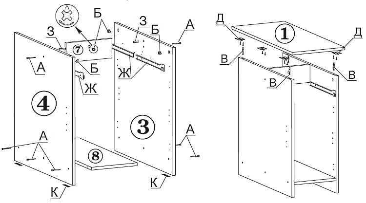
Крок 1. Закріпіть наконечники на боковини столу (3, 4). Зробіть це за допомогою цвяхів. На них закріпіть шурупами (3,5 х 16) роликові напрямні. Боковини столу (3, 4) з’єднайте з дном (8) і царгою (7). Використовуйте шканти і гвинтову стяжку. У боковинах і царге зробіть отвір, вставити туди ексцентрики.

Зверніть увагу: стрілка на ексцентрики повинна бути спрямована до торця деталі.
Крок 2. Штоки ексцентриків закрутіть в отвори на столешню (1). Далі необхідно шурупами (4 х 16) закріпити карткові петлі. Стільницю опустіть на боковини. Зробити це потрібно так, щоб штоки ексцентриків увійшли в отвори в торцях боковин і царге. На боковинах і царге поверніть ексцентрики на 180 градусів за годинниковою стрілкою.
Крок 3. На висувних боковинах (5) закріпіть наконечники за допомогою цвяхів. В їх отвори вставте ексцентрики. Те ж саме зробіть з монтажними планками (6). Візьміть двосторонні ексцентрики і вставити їх в торці монтажних планок. Вставляти потрібно довгою стороною. Ексцентрики поверніть на 180 градусів за годинниковою стрілкою.

Просвердлите на монтажних планках отвори і вставити туди шканты. Висувну опору столу необхідно приєднати до монтажної планки. Ексцентрик поверніть на 180 градусів за годинниковою стрілкою. Шурупами (4 х 16) потрібно прикріпити карткові петлі (5) до монтажних планках (6). Вже закріплені на монтажних планках петлі (3) прикрутіть до боковин столу (4).
Крок 4. Вставте полкодержателі в отвори додаткових стільниць. Додаткові стільниці прикрутіть до карточними петлями, які закріплені на основний стільниці. Ексцентрикову і гвинтову стяжку необхідно закрити заглушками. Візьміть шурупи (4 х 16) і закріпіть ними відповідні частини четырехшарнирных петель на боковині столу (3).

До дверей (10) прикріпіть чотирьохшарнірні петлі. Зробіть це тими ж шурупами. Гвинтами М4 х 20 прикрутіть ручку і навісьте двері. Петлі закріпіть кріпильними гвинтами на відповідні частини. В отвори на боковинах (3, 4) вставте тримачі. Встановіть на них полку (9).
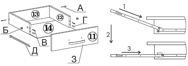
Крок 5. Необхідно зібрати ящики. Гвинтовою стяжкою з’єднайте задню стінку ящика (13) з боковими стінками (14). В отвори на фасаді потрібно закрутити штоки ексцентриків і вставити шканты. З’єднайте фасад скриньки з бічними стінками. Зробити це потрібно так, щоб штоки ексцентриків і шканты увійшли в отвори на бічних стінках.
А креслення з розмірами і покрокову інструкцію для виготовлення письмового столу ви знайдете в цій статті.
Дно ящика (14) вставити в паз. Закріпіть його цвяхами. На боковинах скриньки (6) закріпіть відповідні частини роликових напрямних. Зробити це потрібно впритул до фасаду, використовуючи шурупи (3, 5 х 16). Гвинтами М4 х 20 прикріпіть ручки.

Ящики вставте в тумбу. Щоб це зробити, необхідно нахилити ящик і поставити його так, щоб ролики на напрямних ящика стали на напрямні на боковинах тумби. Опустіть ящик і засуньте в тумбу.
Важливо: ящик повинен рухатися по напрямних плавно, без скрипу і затирань, і висуватися без зусиль.

Як зробити стіл-книжку своїми руками, креслення і схеми можна подивитися на цьому відео:
