Зміст:
- 1 Коли потрібні подібні заходи
- 1.1 Підходимо з розумом
- 2 Перекриття вже готових віконних прорізів
- 2.1 «Перемычные» роботи
- 2.2 Бетонні види
- 3 Рекомендації від професіоналів
- 3.1 А якщо це облицювання?
- 4 Як зробити отвір в цегляній стіні
- 5 Як правильно закласти вікно цеглою
- 5.1 Наші рекомендації:
Будинків без вікон не буває (в іншому випадку, це просто непридатний для житла куб). Цей аспект враховується як на етапі будівництва, так і при переплануванні. Для того щоб зробити віконний проріз у цегляної стіни, необхідно враховувати певні рекомендації і вимоги. Всі вони наведені нижче.
Коли потрібні подібні заходи

віконний проріз у цегляній стіні
Зробити отвір в цегляній стіні може знадобитися ще й при тому випадку, коли на шляху реконструкції будівлі лежить несуча її частина. Зносити і впроваджуватися в саму конструкцію вкрай небажано, а, значить, потрібно подумати над тим, як правильно скоординувати свої бажання перепланировщика. Тут допоможе створення отвору, який можна зробити, не послабивши при цьому весь будинок.
Підходимо з розумом
Попередня планування — це апріорі в такій роботі. В першу чергу, обов’язково потрібно буде спроектувати, підготувати, а потім вже і встановити саму перемичку. Вся навантаження стіни, розташованої над цією дірою, піде саме на неї. Додатково почитати про виконання арочних перемичок можна тут.
Тут беруться за основу такі важливі моменти:
- вигляд самої кладки;
- ширину самої стіни;
- ширину потенційної «дірки»;
- відстань від неї до суміжних поверхонь;
- те ж саме, але до верхнього перекриття;
- поверх будівлі, в якому проводяться роботи.
Щоб визначити розмір, який повинен містити віконний проріз у цегляній стіні, потрібно також враховувати загальну площу від всієї кімнати. Актуальним також буде і його перебування щодо сторін світла.
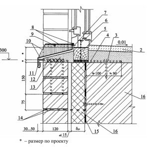
Перекриття вже готових віконних прорізів

що таке перемички у віконному отворі
Етапи виконання
Цегляна кладка навіть вже для готових шаблонів повинна виконуватися в певній послідовності. Вони обов’язково повинні бути підсилені спеціальними прогонами.
Пристрій отвору в цегляній стіні передбачає створення вищезазначеної перемички. Вона потрібна для створення спеціального прогону і цілком можливе повторення в наступній інтерпретації:
- готові бетонні варіанти;
- саморобні з цього ж матеріалу;
- кути з металу (швелери).
Є певні правила в закладці такого отвору. Вони включають в себе наступні технічні рекомендації:
Якщо використовується менший розмір, то камінь необхідно буде підрізати. Так він не буде виступати над вікном.
Куточки слід застосовувати при тих умовах, коли кладка віконних прорізів неодмінно пов’язується зі стінкової. Сам прогін при цьому повинен бути невеликим.
«Перемычные» роботи

віконний проріз у розрізі
Розбираючи пристрій прорізів у цегляних стінах з керамитного виду, потрібно враховувати при роботі з куточком деякі обов’язкові моменти. Серед них основоположними будуть наступні:
Куточок слід укладати таким чином, щоб він добре сусідив з керамитным ложем з обох сторін. Чим менше буде його ширина, тим менше повинна бути і довжина біля самої перемички.
Віконні отвори в цегельній кладці теж не повинні мати куточок більше півтора метрів. В іншому випадку, це може призвести до того, що він буде вигинатися, а кладка буде просідати. Це ж може статися і з використанням подвійного ряду.
Бетонні види

бетонні перемички
Такі перемички в перекриттях можуть бути як саморобні, так і стандартні. В залежності від обраного варіанту, можливо наступний розвиток подій:
Більш докладно в наступному відео:
Рекомендації від професіоналів
Що стосується несучої стіни, то краще всього буде довірити справу професіоналам. Якщо ж є рішучість зробити все власними руками, то потрібно прислухатися до наступних порад:
У самих стягуючих швелер діаметр болтів буде не менше 20 мм.
А якщо це облицювання?

облицювання віконних прорізів
Обробка віконних прорізів цеглою лицювальним повинна бути виконана максимально естетично. Саме тому в таких випадках не використовують швелер або бетонні перекриття. А ось широкого і металевого буде достатньо. Його зазвичай прийнято укладати тільки з боку самої несучої стіни. Саме тоді він буде непомітний з фасаду.
Іноді при подібних роботах потрібно буде підрізати виступаючі частини з зовнішнього боку — так він буде виглядати набагато красивіше. З цією метою треба застосовувати суху розкладку.
Як зробити отвір в цегляній стіні

робимо отвір в стіні
Ситуації бувають різні. Іноді у господарів виникає бажання зробити ще одне вікно в тій стіні, яка вже була зведена. Весь процес повинен йти за таким алгоритмом:
Рекомендуємо переглянути відео для розширення теми:
Як правильно закласти вікно цеглою

закладаємо вікно цеглою
Іноді, навпаки, потрібно зменшити їх кількість в будинку. Якщо задні із зазначеного нами будматеріалу, необхідно буде просто закласти отвір цеглою. Необхідно буде дотримуватися деякі технології:
У тому, як закласти віконний отвір цеглою, немає нічого складного. Але будь-який з перерахованих вище процесів дуже важливий: слід проводити його відповідно до наведених рекомендацій. При їх ігноруванні є ризик деформації виконаних робіт і навіть обвалення всієї будівлі.
Якщо у вас залишилися питання, рекомендуємо до перегляду відео «як закласти вікна цеглою»:
