Доступність матеріалів і простота виробництва монтажних блоків з шлакобетону дозволяють виготовити їх своїми руками. Шлакоблоки можна робити вручну, а можна для цієї мети змайструвати саморобний верстат, який дозволить значно прискорити процес виробництва. Перш ніж створити робочий креслення верстата, потрібно визначитися, з якою метою він буде використовуватися. Для зведення невеликих споруд і господарських будівель буде достатньо 1-2 форм, які будуть потрібні для виготовлення монтажних блоків. Якщо буде потрібно набагато більшу кількість шлакоблоку за 1 робочий цикл, то необхідно задуматися над виготовленням більш потужного і продуктивного обладнання (наприклад, на 4-6 і більше форм за цикл).


Як виготовити форми для виготовлення блоків
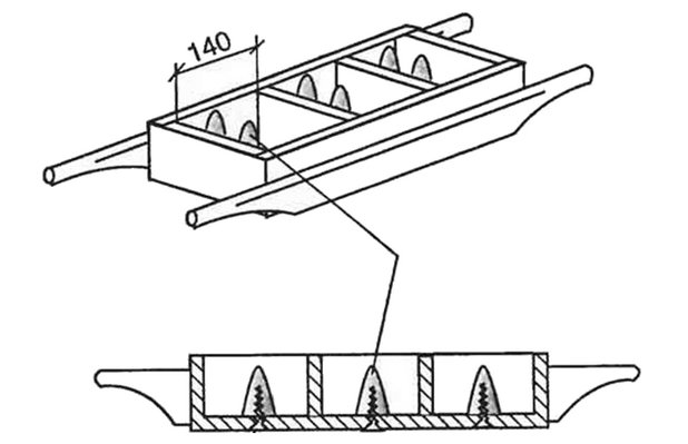
Ціна і розмір шлакоблоку, а також його фізичні характеристики роблять цей матеріал привабливим для будови різних архітектурних споруд. Купувати готове обладнання для його виробництва є досить клопіткою і витратною справою, а от виготовити верстат своїми руками цілком реально. Для початку необхідно створити креслення форм з урахуванням габаритів шлакоблоку– 390?188?190 мм. Потім потрібно визначитися з кількістю виготовлених блоків.
Тут слід враховувати, що якщо шлакоблок буде проводитися на вібростолі, то форми потрібно виконати одинарними, оскільки в іншому випадку їх буде досить важко встановлювати на стіл для утруски. Можна виготовити подвійний контейнер для виробництва шлакоблоку з проміжком 5 мм між однаковими секціями, куди буде встановлюватися розділова пластина. Такої ж товщини необхідно взяти сталевий лист (з якого ми і будемо виготовляти форми). Процес їх виготовлення досить простий:
- робимо розмітку металевого листа;
- вирізаємо потрібного розміру деталі;
- за допомогою зварювання з’єднуємо між собою клапті сталі;
- посередині приварюють пластину і конусоподібні циліндри, які будуть виконувати роль пустотоутворень.
Рада виконроба: зварювати листи між собою необхідно точкової прихваткою з зовнішньої сторони, щоб метал не повело, а всередині була цільна і рівна поверхня.
Після виготовлення конструкції потрібно зробити металевий піддон, який потім необхідно зварити з формою, а потім від її краю потрібно відступити по 50 мм, а по довгій стороні 200-300 мм (тут перебуватимуть надлишки розчину після його завантаження). Висота бортика також повинна бути 50 мм, щоб розчин не висипався при завантаженні.

Креслення для виготовлення форми для шлакоблоку

Конструктивні особливості верстата
Як ми вже говорили, шлакоблоки своїми руками в домашніх умовах можна приготувати за допомогою верстата. Найпростішу конструкцію можна виготовити наступним чином:
- в якості підстави вібростолу будемо використовувати два однакових за розміром швелера, до кожного з яких необхідно приварити по дві металеві труби. Вони будуть служити опорами столу;
- поверх вільних кінців труб необхідно наварити пружини, які будуть забезпечувати належний рівень вібрації для утруски робочого складу у формах. Для цієї мети прекрасно підійдуть старі мотоциклетні пружини. Вони також будуть виконувати роль амортизаторів;
- стільницю вібростолу можна виготовити з товстостінної сталі. Прямокутне полотно потрібно приварити до вертикально розташованим пружинам опор. Потім на полотні строго за посадковим місцям електродвигуна (можна для цієї мети використовувати мотор для точильного верстата або від побутової пралки) необхідно приварити болти і намертво закріпити його. Для забезпечення вібрації на вихідному валу двигуна необхідно встановити ексцентрик (можна використовувати гайку зі зміщеним центром або приварити болт).

Креслення вібростолу


Фото: верстат для виготовлення шлакоблоків
Перевірити працездатність устаткування можна, включивши електродвигун в мережу. Якщо верстат почне вібрувати, то можна приступати до виготовлення шлакоблоків.
Рада виконроба: для полегшення процесу виробництва можна виготовити конструкцію верстата з підйомною рамою, яка здатна піднімати форму, після чого готовий виріб залишається на підлозі. Сама рама має колеса для зручності переміщення устаткування.
Відзначимо також, що для невеликого приватного виробництва підійдуть саме верстати з підйомною частиною, які дозволять значно прискорити процес виготовлення.
