Ще зовсім недавно, процес прання займав значну частину часу. Прийшли на зміну автоматичні пральні машини, значно спрощують життя сучасної господині. Однак купити такий агрегат недостатньо, важливо, щоб її установка відповідала всім правилам та нормам. Хоча установка пральної машини у ванній є досить легким процесом, але в деяких випадках він може викликати ряд проблем. Якщо вам ніколи не доводилося самостійно встановлювати інші побутові прилади, то настійно рекомендуємо не геройствувати і звернутися до фахівця.
Що потрібно для установки
Зміст
- 1 Що потрібно для установки
- 2 Підготовка приміщення
- 3 Підготовка до встановлення пральної машини
- 4 Регулювання підставки
- 5 Підключення до електромережі і заземлення
- 6 Підключення до водопостачання і каналізації
- 7 Можливі проблеми та шляхи їх усунення
Щоб правильно встановити пральну машину автомат, обов’язково необхідно:
- підключення до холодного водопостачання. Стандартний діаметр вхідний різьби на крані становить три чверті дюйма;
- спеціальний кран для пральних машин, за допомогою якого закривається і відкривається подача води. Зазвичай він так і називається — кран для пральних машин;
- вихід в централізовану каналізацію. Традиційно це труба діаметром 32 мм;
- опціонально-спеціальний зворотний клапан. Встановлюється на каналізаційну трубу для гарантії, що вода з каналізації не потече назад в пральну машину. Але це практично неможливо, так як висота від підлоги до каналізаційної труби становить приблизно 80 см від підлоги і навряд чи вона настільки підніметься. Хоча, якщо у вас 1 поверх, то розмітити клапан не буде зайвим;
- гайковий ключ, який зазвичай постачається разом із пральною машиною;
- хомутик, для більш міцного закріплення шланга з каналізаційною трубою;
- електрика — розетка на 10-20 вольт. Потужність пральної машини повинна відповідати розетки. У ванних кімнатах використовується розетка з кришечкою, що захищає від випадкового попадання вологи. А розетка у ванній, як і будь-яка інша б’є струмом.
Перша прання проводиться без завантаження білизни. Така прання дозволяє очистити машину зсередини і видалити воду, що залишилася після заводських випробувань. Для цього виберіть максимально інтенсивний цикл прання і температуру не менше 90 градусів.
Розташування пральної машинки на узвишші
Розташування пральної машинки в ніші
Розташування пральної машинки в спеціальній шафі
Розташування пральної машинки під раковиною
Підготовка приміщення
Правильно підготовлене приміщення вже на 50% гарантує вам комфортну установку і подальшу експлуатацію машинки навіть в самій маленькій ванній.
Якщо у вас ще залишилася стара пральна машина автомат, то спершу позбавтеся від неї. Ставити машину необхідно на тверду, строго горизонтальну поверхню без нерівностей. Якщо приміщення дуже маленьке, то заздалегідь вийміть всі зайві предмети з ванної, які будуть заважати вам при установці.
Переконайтеся, що у ванній кімнаті або в крокової доступності знаходиться відповідна розетка (потужність якої 10-20 вольт). Якщо довжина мережевого шнура здасться вам дуже маленькою, то можете виміряти його довжину, щоб переконатися дотягне він до електромережі. Провід повинен перебувати в «вільному польоті», це вбереже вас від зайвих пошкоджень, які убезпечать від проблеми, коли техніка під час роботи б’є струмом.
Якщо розетка у ванній кімнаті у вас зовсім відсутня, то рекомендуємо викликати майстра, який виконає необхідну роботу по її монтажу.
Послідовність встановлення пральної машинки
Не забудьте виміряти або подивитися на коробці габарити машини (зазвичай вказуються разом з іншими характеристиками, такими як потужність). Часто трапляється так, що двері у ванну встановлена неправильно і відкривається усередину. Якщо ви належите до числа цих щасливчиків, то даний факт може перешкодити комфортного переміщення пральної машини з коридору у ванну. Тому двері краще зняти з петель і поставити на місце вже після установки пральної машини.
Підготовка до встановлення пральної машини
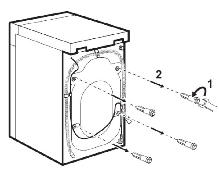
Нову пральну машину автомат необхідно звільнити від пакувальних матеріалів і зняти з дисплея, на якому вказується потужність, режими прання та інші характеристики, захисну плівку. Щоб запобігти пошкодження поверхні техніки під час її використання, слід відкрутити транспортувальні гвинти. Вони передбачені для кріплення бака при транспортуванні і відвертаються гайковим ключем, який зазвичай поставляється в комплекті. Який саме гайковий ключ підійде, можна визначити по діаметру самих гвинтів.
Розташування транспортних болтів
З корпусу витягують гумові та пластмасові втулки. Утворилися в панелі отвори, декоративно закладаються пластмасовими заглушками, які поставляються разом з інструкцією та іншими аксесуарами. Якщо втулки не вийшло вийняти, їх дістають за допомогою хрестоподібної викрутки, знявши задню панель.
Регулювання підставки
Наступний етап установки машини автомат — настройка правильної висоти кожної ніжки. Потрібно домогтися такого ефекту, щоб агрегат перебував у максимально спокійному стані під час роботи. Для цього у пральної машини передбачені підставки (ніжки), які ви можете вкручувати і викручувати до потрібної висоти.
Щоб правильно розмістити пральну машину автомат, необхідно:
- відрегулювати висоту підставки так, щоб при навантаженні на 4 ніжки машинка не трусилася;
- встановити машину відносно рівно по відношенню до горизонту.
Правильно встановлена машина автомат не буде гойдатися, і створювати зайвий шум. У разі найменшої похибки можуть виникнути зайві вібрації.
Як потрібно виставляти машину рівно за рівнем і фіксувати ніжки
Ставити машину слід строго горизонтально по відношенню до підлоги з використанням рівня. Потім після ослаблення контргайок за допомогою гайкового ключа, вкручують або викручують ніжки до певної довжини підставки. Налаштувавши висоту підставки до необхідного рівня, контргайки затягуються, щоб знизити зайві хитання.
Щоб запобігти ковзання по підлозі, можна підкласти під пральну машинку гумовий килимок
Гідність підставки полягає в тому, що регулювання висоти кожної ніжки дозволяє поставити машину навіть в приміщенні з нерівною підлогою. При правильно відрегульованого висоті ніжки шум під час роботи машини максимально нівелюється. Підкладка під техніку килимків та інших м’яких поверхонь не зменшить шум, а тільки збільшить його. Після того, як ви відрегулювали довжину ніжок, машинку можна ставити у ванну.
Підключення до електромережі і заземлення
Мережевий шнур, попередньо закріплений на задній панелі, підключається до мережі електроживлення через двухполюсную розетку з заземлюючим контактом. Якщо розетка знаходиться надто далеко від місця майбутнього знаходження машини, необхідно, щоб майстер провів монтажні роботи з її встановлення.
Підключення до електромережі
Ні в якому разі не намагайтеся самостійно ставити розетку, якщо у вас немає належної кваліфікації. Якщо розетку неправильно заземлити, то може виникнути така ситуація, коли машинка при роботі б’є струмом. Потужність розетки повинна становити не менше 16 ампер. Якщо ви виробляєте установку вперше в новому будинку або квартирі, то розетку необхідно обов’язково заземлити.
Розетку рекомендується встановлювати ближче до пральній машинці
Якщо ви помітили, що при роботі пральна машина б’є струмом, то викличте кваліфікованого фахівця для перевірки заземлення! Проблема, коли машинка автомат при роботі б’є струмом, пов’язана з неправильним заземленням.
Підключення до водопостачання і каналізації
Машинка підключається до мережі холодного водопостачання через наливний шланг, і вже потім через зливний шланг до каналізації. Використання води відбувається автоматично, тому з’єднання зі стаціонарним водопроводом повинно бути міцним.
В комплект поставки передбачено стандартної довжини шланг, який підключається до задньої панелі за допомогою пластмасового шлюзу. Для того щоб закріпити зливний шланг на мийці, в комплекті йде гачок, за допомогою якого він закріплюється на краю ванни чи раковини.
Установка зливу пральної машини
Зливний шланг повинен знаходитися в межах стандартно встановленої мийки, раковини або ванни, тобто на висоті від 40 до 90 см!
Для того щоб вивести зливний шланг безпосередньо в каналізацію, зливний шланг підключається до каналізаційної труби. Потужність напору води досить сильна, тому додатково встановлюємо запірний кран, знижує ймовірність протоки води при пошкодженні водяного шланга, тривалому невикористанні техніки та для зручності її демонтажу.
Правильне підключення пральної машинки
Підключення до водопроводу
Підключення дренажу
Різні варіанти підключення зливу в каналізацію.
Підключаємо пральну машину, включаємо воду. Перевіряємо чи протікає вода, там де є з’єднання. Машина готова до роботи.
Можливі проблеми та шляхи їх усунення
Пральна машина під час роботи б’є струмом. Неправильно виконане заземлення. Якщо під час роботи б’є струмом, то негайно викликайте фахівця, який зможе правильно заземлити розетку і усунути проблему.
Правильне підключення пральної машинки
Під час прання, машина шумить. Причин може бути декілька:
- транспортувальні болти залишилися в корпусі;
- висота підставки була неправильно відрегульована;
- машину встановлювали не за рівнем, і вона стоїть нерівно;
- дерев’яний або нерівний підлогу;
- несправність ніжки;
- ряд інших, приватних несправностей.
