Для комфортного прийняття душу і ванни неодмінно встановлюється змішувач, забезпечує змішування холодної та гарячої води, тому надходить в сантехнічні прилади вода потрібної і приємної температури. Такий процес як установка змішувача у ванній вважається нескладною роботою, тому кожен власник житлової нерухомості має можливість самостійно це зробити. Якщо ж довірити цю процедуру фахівцям, то вони запитають за нього досить суттєві кошти.
Необхідні інструменти
Зміст
- 1 Необхідні інструменти
- 2 Підготовчі роботи
- 3 Яку висоту вибрати
- 4 Етапи установки змішувача для ванної
- 4.1 Демонтаж старого змішувача
- 4.2 Збір конструкції
- 4.3 Установка на стіну
- 4.4 Монтаж на ванну
- 5 Відео про встановлення змішувача у ванній кімнаті
Перед тим, як правильно встановити змішувач у ванній, слід подбати про підготовку необхідних інструментів для процесу. Для роботи не потрібні які-небудь специфічні або складні інструменти, тому зазвичай вони є у кожної людини. Готуються наступні інструменти:
- пасатижі;
- хрестова і плоска викрутки;
- різні види ключів: газовий ріжковий і розвідний;
- шестигранники;
- ФУМ стрічка.
Необхідні інструменти
Дані інструменти є практично у кожної людини, що бажає здійснювати прості роботи по будинку своїми руками. Сучасні змішувачі можуть оснащуватися численними незвичайними елементами, тому нерідко для них потрібно підготувати інші інструменти, тому точний список визначається вже безпосередньо під час процес монтажу.
Підготовчі роботи
Встановити змішувачі у ванній самостійно нескладно, однак для цього важливо виконати кілька попередніх підготовчих робіт. Вони полягають в першу чергу у виборі якісного, надійного і зручного в роботі змішувача. До купівлі слід підходити відповідально, так як від якості сантехнічного приладу залежить його повноцінна робота. Не слід економити на це придбання.
Під час вибору змішувача неодмінно треба звертати увагу на фактори:
- маса сантехнічного приладу — якість змішувача безпосередньо залежить від його ваги, так як в процесі виробництва використовується якісний і міцний матеріал, то кінцевий виріб не може бути легким. Товщина і значна вага конструкції – це основа його довговічності, міцності і надійності;
- матеріал виготовлення змішувача — найбільш часто для цих цілей використовується латунь. Цей матеріал вважається міцним, так як для його виготовлення використовуються якісні і надійні сплави. Прилади з нього рідко ламаються, однак мають досить високу вартість. Нерідко застосовується силумін, який є недорогим і легким, так як виготовляється з використанням сплаву з алюмінію і кремнію. Цей матеріал відрізняється низькою міцністю, тому нерідко при істотному впливі можна відірвати ручки або зовсім можуть випасти притиски;
- технічні характеристики вироби — змішувач для ванної повинен бути простим в установці, якщо планується виконувати роботу своїми силами. Також треба переконатися, що параметри вироби повністю відповідають майбутнього місця установки.
Таким чином, перед безпосередньою роботою важливо визначитися з самим приладом. Види змішувача різноманітні, тому нерідко в процесі вибору покупці стикаються зі складністю придбання якісного і відповідного виробу.
Двохвентильний
Одноважільний
Сенсорний
Термостатичний
Яку вибрати висоту
Установка змішувачів може виконуватися на різну висоту, а також прикріплятися прилади можуть безпосередньо до ванні або на стіну. Оптимально встановити змішувач у ванній своїми руками на висоті від ванни у 20 див. Однак, даний показник вважається лише умовним, тому для кожної окремої ситуації вибирається своя відповідна висота.
Встановлювати конструкцію слід при обліку деяких рекомендацій спеціалістів:
- попередньо оцінюється зручність використання приладу на певній висоті, причому здійснити це мають безпосередні майбутні користувачі;
- не бажано в якості початку відліку вибирати висоту чаші, так як зазвичай ванна після установки доповнюється різними зручними елементами, що підвищують комфортність прийняття водних процедур, а до них відносяться різноманітні прокладки або підставки, тому висота чаші може бути збільшена;
- якщо передбачається, що кран буде постійно повертатися від ванни до раковині, то важливо оцінити зручність даного процесу;
- на висоту установки душового змішувача впливають різні аксесуари, які можуть встановлюватися на кран, а до них відносяться пом’якшувачі або фільтри;
- якщо вибирається настінний змішувач, то для його кріплення важливо користуватися спеціальними свердлами, призначеними для плитки, щоб не завдати шкоди настінного покриття;
- нерідко вироби, призначені для кріплення на стіну, фіксуються до бордюру для підвищення комфортності їх використання.
Таким чином, попередні етапи встановлення полягають у підборі якісного сантехнічного обладнання, а також у визначенні оптимальної висоти його встановлення. Від грамотного вибору змішувачів залежить термін їх служби, комфортність використання і привабливість всієї ванної кімнати.




Етапи установки змішувача для ванної
Монтаж змішувача виконуватися в декількох послідовних етапах, причому кожному треба приділяти багато уваги. Від сукупності цих дій залежить кінцевий результат.
Демонтаж старого змішувача
Спочатку важливо подбати про демонтаж старого сантехнічного приладу, якщо він є. Дана робота вважається досить простий. Для цього виконуються такі дії:
- спочатку перекривається вода, причому як холодна, так і гаряча;
- з крана повністю спускається вода;
- він відкручується від стіни, причому робити це треба обережно, так як необережні дії можуть призвести до деформації різьблення, наявної на фітингу;
- якщо пошкодити різьблення, розташовану на стіні, то доведеться виконувати капітальні ремонтні роботи, так як доведеться замінити фітінг, тому виникне необхідність збивати плитку;
- після демонтажу старого приладу, фітінг, наявний в стіні, ретельно очищається, так як важливо усунути з нього залишки підмотки чи фарби.
Демонтаж старого змішувача
Таким чином, демонтувати старий сантехнічний прилад досить просто, тому цей процес не потребує вкладення значних зусиль та часу.
Збір конструкції
Більшість змішувачів, що продаються на ринку, є розбірними конструкціями, тому перед їх монтажем доводиться виконувати зборку виробу. Стандартні моделі складаються з компонентів:
- лійка, призначена для душу;
- гусак і ексцентрики;
- гумові прокладки і декоративні плафони;
- душовий шланг, головний блок і гусак.
Зазвичай виробники кожну деталь укладають в окремий мішок, зроблений з поліетилену або тканини.
Збірка одинважільного змішувача
Етапи складання двухвентильного змішувача
Перед складанням важливо переконатися, що всі комплектуючі знаходяться у комплекті, а також відрізняються високою якістю. Особливо багато уваги приділяється эксцентрикам, так як їх різьба має бути цілісною і надійною.
Складання конструкції здійснюється досить легко. Для цього до блоку приєднується гусак, після чого прикріплюється шланг з лійкою. Цей процес простий, так як всі компоненти просто прикручуються один до одного. Не бажано для цієї роботи користуватися ключами, а також не можна прикладати значні зусилля.
Установка на стіну
Як встановити змішувач у ванній, якщо він прикріплюється до стіни приміщення? Для цього виконуються прості дії:
- всі сантехнічні прилади в приміщенні накриваються плівкою, щоб уберегти від бруду та пошкоджень;
- якщо раніше не був встановлений старий змішувач, то спочатку монтуються фітинги на потрібній ділянці стіни, причому розрахунок місця розташування конструкції повинен проводитися заздалегідь;
- збирається змішувач відповідно до заздалегідь прописану інструкцією;
- ексцентрики обов’язково обмотуються стрічкою ФУМ, після чого вони вставляються в настінні фітинги, що залишилися після демонтажу старого сантехнічного приладу;
- якщо відсутній у наявності стрічка, то допускається скористатися клоччям, попередньо обробленої спеціальною пастою;
- ексцентрики вкручуються, причому між двома входами, наявними на змішувачі, неодмінно залишається оптимальне відстань, рівну приблизно 15 см, а виміряти цю відстань рекомендується будівельним рівнем;
- на ексцентрики накручується основний блок приладу, а якщо вони правильно вкручені, то під час даної роботи не виникає жодних проблем;
- блок знімається, після чого на ексцентрики накручуються декоративні плафони, причому вони зобов’язані міцно і щільно прилягати до стінки;
- знову прикручується блок, причому вже в цей час треба користуватися підмоткою;
- для більш щільного усадки рекомендується користуватися прокладками;
- підтягують гайки із застосуванням ключа, причому не можна прикладати значні зусилля, щоб не зламати вироби;
- підключається змішувач у ванній до системи гарячого та холодного водопостачання.
Таким чином, у ванній установка змішувача – це проста робота, виконувана за короткий проміжок часу. Найбільш часто фіксується цей прилад до стін приміщення, так як в цьому випадку їм комфортно і зручно користуватися.
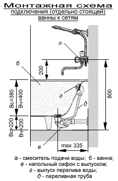
Після установки, важливо розібратися, як підключити змішувач до систем холодного і гарячого водопостачання, причому це легко виконується за допомогою гофри. Важливо виконати роботу таким чином, щоб було зручно користуватися конструкцією, а також усі місця приєднання повинні бути надійними і довговічними.
Установка фітингів
Підготовка до встановлення ексцентрика
Установка змішувача
Етапи установки змішувача
Монтаж на ванну
Якщо планується користуватися змішувачем тільки для душа у ванні, то установка може здійснюватися безпосередньо на сантехнічний прилад. Для цього спочатку необхідно зібрати модель, після чого допускається поставити її на ванну в правильній послідовності дій:
- оскільки планується встановлювати виріб у ванну, на неї наноситься розмітка, що визначає місця розташування отворів для змішувача;
- з допомогою електричної дрилі свердляться по розмітці отвори, після чого нерівності шліфуються;
- на перехідники, призначені для шлангів, по ходу різьблення намотується ФУМ стрічка, причому бажано створювати відразу декілька шарів;
- перехідники вкручуються в фітинги;
- на отвори в борте монтуються гайки;
- на підставі зливу встановлюється прокладка, після чого цей елемент прикручується до борту і обжимається;
- до змішувача приєднуються дві гнучкі трубки, призначені для подачі води, після чого вони добре обжимаються;
- знизу на прилад нагвинчує обтискна гайка, а далі він встановлюється в отвір і кріпиться зверху ще однією гайкою;
- фіксується в отворі душ, після чого відбувається підключення змішувача у ванних до шлангу;
- дві трубки вироби прикручуються до перехідників, наявними в стіні приміщення;
- включається вода для перевірки правильності установки.
Схема монтажу змішувача на борт ванни
Ванна з отвором під змішувач
Монтажний блок для ванни зі змішувачем
Монтаж змішувача на бічний борт ванни
Установка змішувача
Таким чином, у ванній установка змішувача – це неодмінний процес, який може виконуватися своїми силами. Прилад може монтуватися на стіну або безпосередньо на ванну, а при цьому виходить надійна і якісна конструкція.
Відео про встановлення змішувача у ванній кімнаті
На відео показано як самостійно встановити змішувач.
