Категорія: Сантехніка
Іноді під час ремонту ванної кімнати виникає бажання не тільки пофарбувати стіни новою фарбою або поклеїти плитку, але і замінити саму ванну, особливо якщо за роки експлуатації вона втратила свій первісний зовнішній вигляд.
Звичайно, можна спробувати відновити покриття за допомогою наявних у продажу спеціальних емалей. Це може стати хорошим рішенням у випадку з чавунною ванною.
Але, якщо вам потрібно змінити наявну ванну на більш сучасну з гарним дизайном і додатковими вигодами, то доведеться демонтувати стару і натомість її встановити нову.
Про те, як це зробити, ми і поговоримо в цій публікації.
Демонтаж старої ванни
Якщо ви ще не визначилися з покупкою, то радимо прочитати статтю – Яку ванну вибрати? Якщо ви вже зробили свій вибір і нова ванна вже куплена, то можна приступати до демонтажу старої.
Для цього потрібно акуратно від’єднати сифон, який розташований знизу і прикручений до випуску з допомогою гайки, а також відкрутити перелив (кріпиться до переливному отвору на стінці).
Якщо труби старі і вручну зробити це не виходить, скористайтеся розвідними ключами.
Після від’єднання сифона від ванни слід також від’єднати від відвідний каналізаційної труби, що йде до стояка. Для цього достатньо акуратно розібрати розтрубне з’єднання, намагаючись не пошкодити наявне гумове кільце, і заткнути ганчіркою відвідну трубу, щоб у неї не потрапив сміття під час установки ванни.
Після цього ванну можна зрушувати з місця, не побоюючись пошкодити каналізаційні труби.
Якщо ванна чавунна, її можна розбити кувалдою і винести осколки по частинах. Це значно прискорить справу і не потребує великої кількості людей, щоб її винести з дому на смітник.
Відео, як зламати чавунну ванну ви можете подивитися нижче:
Як бачите, нічого складного в цьому немає, головне постаратися всі роботи виконувати в денний час, щоб не турбувати сусідів ввечері, так як галасу буде дуже багато.
Особливо обережно слід діяти в місцях приєднання ванни до каналізації в старих будинках. Як правило, в сталінках і в хрущовках каналізація виконувалася з чавунних труб, які при необережному поводженні можуть дати тріщину і доставити вам додаткові клопоти по перекладці каналізації. Яка нерідко замоноличивалась в підлогу.
Після того, як стару ванну прибрали, можна приступати до установки нової.
Підготовка підстави
Установка починається з підготовки міцного рівного підстави.
Якщо в процесі демонтажу ви пошкодили підлогове покриття або підлогу і раніше мав нерівності, то слід зробити всі необхідні роботи по його вирівнюванню, щоб ванна стояла на рівній підлозі.
Для цього слід зробити цементну стяжку і укласти плитку на підлогу.
Лише після того, як буде готове надійне підгрунтя, можна приступати до установки самої ванни.
Установка ніжок на чавунній ванні
Чавунна ванна відрізняється значним вагою і вимагає надійної опори для установки. Для цього використовують ніжки, які кріпляться до днища.
Раніше ніжки представляли собою трикутні чавунні виливки, які кріпилися в розпір між припливами (виступами) на дні ванни і расклинивались металевими клинами:

Висота установки в таких випадках регулювалася металевими підкладками і виглядало все це не дуже акуратно.
Сьогодні ніжки являють собою більш складну конструкцію. Кріпляться вони за допомогою різьбового з’єднання і гайки, а їх висота регулюється гвинтами з допомогою гайкового ключа:

Ось такі ніжки і слід в першу чергу закріпити на днище ванни, щоб відразу поставити її на те місце, де вона буде стояти, і лише після цього приступати до монтажу обважування у вигляді сифона, переливу та інших пристосувань, якщо вони є.
Монтаж сифона і переливу
Монтаж сифона і переливу виконується після того, як ванна надійно стоїть на своїх ніжках.
Сифон являє собою пластикову конструкцію, створює водяний затвор, щоб у кімнату не проникали гази і неприємний запах з каналізаційної мережі:

Сифон з одного боку прикручується до випускного отвору в днище ванни, а переливна трубка – до переливному отвору на стінці.
Випуск сифона приєднується до каналізаційної труби, що відводить стоки до стояка.
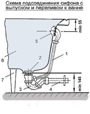
Схема установки сифона виглядає так, як показано на малюнку нижче:
Цифрами позначені: 1 – переливна труба; 2 – випускний отвір в днищі ванни; 3 – сифон; 4 – патрубок, приєднуваний до відвідної труби; 5 – переливний отвір в стінці ванни; 6 – ванна, 7 – ніжки ванни.
Сифон збирають з деталей, наявних в комплекті, після чого встановлюють в зливний отвір і закріплюють з допомогою гайки із зворотного боку.
Після цього таким же чином кріпиться переливна трубка до переливу.
Випускний патрубок сифона монтується до відвідної каналізаційній трубі.
Після того, як вся конструкція в зборі, слід набрати воду і подивитися, щоб ніде не підтікала вода. Якщо десь ви помітили крапельки, слід акуратно без докладання великих зусиль підтягнути з’єднання для ущільнення прокладки.
Нижче ви можете подивитися відео, як встановити сифон у ванну:
Як бачите, все досить просто і не повинно викликати труднощів при виконанні цієї роботи своїми руками.
Особливості установки акрилових ванн
Давайте тепер розглянемо основні особливості монтажу акрилових ванн.
Акрилові ванни з’явилися на нашому ринку не так давно, але вже давно завоювали популярність завдяки різноманіттю форм, розмірів, кольорів, а також невеликій вазі, що дозволяє обійтися без бригади робітників для її переміщення в місце установки.
Раніше ми вже писали, як вибрати акрилову ванну, якщо ви ще не читали, то рекомендуємо почитати про плюси і мінуси ванн з цього сучасного матеріалу.
А тепер кілька слів про їх встановлення.
Акрилові ванни відрізняються від сталевих і чавунних тим, що їх корпус має меншу механічну міцність і може бути легко пошкоджені.
При митті в такій ванні людини має велику вагу, вона помітно грає, а згодом в корпусі можуть з’явитися тріщини.
Щоб цього не сталося, акрилові ванни ставлять на спеціальну жорстку раму з конструкцій, що йдуть із нею в комплекті.
Каркас може мати різні варіанти виконання, але в цілому, каркас під акрилову ванну виглядає так, як показано на фото нижче:

Для складання каркаса на дні ванни розмічають місця, де рама буде кріпитися до днища саморізами:

Після чого в намічених місцях засверлівают невеликі отвори. Головне не просвердлити днище наскрізь. Глибина отворів вказується в паспорті ванни.

Після того, як готові отвори, виконують кріплення опорних металевих рейок до днища з допомогою саморізів:

Для більшої міцності конструкції акрилова ванна кріпиться до стін. Для цього виконується розмітка і в потрібних місцях встановлюють спеціальні кріплення:

Після цього на кріплення навішується ванна:

Залишається лише відрегулювати висоту ніжок, щоб вона не хиталася, і замазати щілини між ванною і стіною.
Ще більшу міцність можна надати ванни з акрилу, встановивши перед нею екран з матеріалу, що має добру механічну міцність:

Установка акрилової ванни на цеглу
Якщо ви хочете надати ще більшу стійкість і міцність акриловій ванні, то можете поставити її на цеглу на додаток до металевого каркасу, як показано на фото нижче:

Такий спосіб також широко використовується. Особливо добре він підійде для людей з великою вагою.
Цеглини вкладаються на розчин, зверху встановлюється ванна, а простір між ванною і цеглою запенивается монтажною піною.
