Зміст:
- Конструкція котлів модельного ряду Димок
- Технічні характеристики
- Монтаж і підключення котла
- Висновок
Простий та доступний широкому колу користувачів твердопаливний котел Димок серійно випускається російською компанією ТОВ «Красноярскэнергокомплект». Вироби виробника, добре відомі під брендом ZOTA, завоювали визнання як у своїй країні, так і за кордоном. Компанія пропонує 5 видів твердопаливних котлів, даний матеріал ставить за мету розглянути один з них — теплогенератори під назвою «Димок».
Конструкція котлів модельного ряду Димок
Агрегати Димок – типові представники класичних твердопаливних котлів прямого горіння з ручним регулюванням подачі повітря за допомогою заслінки. У базовому виконанні котли є повністю незалежними, хоча в якості опції для них передбачена установка електричних Тенів, які поставляються окремо.

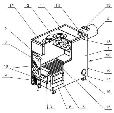
Матеріал камери спалювання і газоходів – сталь, моделі серії АОТВ додатково забезпечуються чавунній варильної плитою. Як влаштований опалювальний котел Димок, показано на схемі:

1 – корпус; 2 – камера згоряння; 3 – огнетрубный теплообмінник; 4 – патрубок для приєднання до димоходу; 5 – колосникова решітка; 6 – опора; 7 – зольна камера; 8 – завантажувальна дверцята; 9 – дверцята зольника; 10 – повітряні заслінки; 11 – рамка; 12 – варильна плита; 13 – димова засувка; 14 – патрубок для підключення подаючої магістралі; 15 – водяна сорочка; 16 – ніжки; 17 – отвір для установки Тена, закрите заглушкою; 18 – гніздо для датчика температури; 19 – патрубок для зливу; 20 – патрубок для підключення зворотного трубопроводу.
Примітка. Теплогенератори з маркуванням КОТВ не комплектуються плитою, в іншому їх пристрій повністю аналогічно котлам АОТВ.
Як видно зі схеми, котли Димок мають сталевий топливник, що займає всю нижню частину агрегату. У свою чергу, жаротрубний теплообмінник має невеликі розміри і, відповідно, малу площу поверхні обміну. Звідси і скромний ККД, у всіх котлів він дорівнює 70%. Це цілком закономірно, оскільки конструкція агрегату – це щось середнє між піччю і повноцінним двоходовим теплогенератором.
В якості палива виробником традиційно передбачаються дрова і вугілля. А ось регулювання подачі повітря на горіння організовано оригінально: з допомогою 2 заслінок (поз. 10 на схемі). Одна вмонтована в дверцята зольника, а друга – в дверцята топливника. Це дозволяє подати додаткову кількість повітря в камеру при необхідності, або у випадку, коли зольний ящик повний.

Всі котли ZOTA Димок мають гніздо для монтажу електричного Тена і датчика температури теплоносія. Управління нагрівом тоді здійснюється за допомогою дистанційного пульта.
Технічні характеристики
Виробником пропонується 2 серії агрегатів – КОТВ і АОТВ. Конструктивна відмінність між ними ми вже визначили – це наявність у серії АОТВ варильної панелі. Сталеві твердопаливні котли Димок серії КОТВ пропонуються в 2 модифікаціях — потужністю 14 і 20 кВт. Їх докладні технічні характеристики вказані в таблиці:

Серія АОТВ включає в себе лінійку з 3 агрегатів – на 12, 18 і 25 кВт. Можна зробити висновок, що теплогенератори Димок відрізняються скромними розмірами і потужністю, їх сфера застосування – невеликі заміські будинки або дачі. Максимальний робочий тиск всіх моделей передбачено на хорошому рівні – 3 Бар, короткочасно – до 4 Бар. Всі інші технічні характеристики відображені у наступній таблиці:

Комплект електричних нагрівачів, який можна поставити на котел, включає в себе:
- Тени з нержавіючої сталі: всього пропонується 7 видів потужністю від 3 до 15 кВт;
- пульт управління в комплекті з датчиками температури теплоносія та навколишнього повітря. Система дає можливість налаштовувати роботу Тенів для підтримання мінімальної температури в приміщенні.
Монтаж і підключення котла
Додається виробником до виробів інструкція свідчить про те, що котел слід розміщувати на відстані 200 мм від конструкцій з горючих матеріалів. Якщо ж матеріали – легкозаймисті (картон, дерево, пластик), то ця відстань повинна бути не менше 400 мм. Для нормального доступу до агрегату під час обслуговування з фронтальної сторони потрібно забезпечити вільний відстань до найближчої перешкоди не менше 1 м. З бічної сторони, де встановлюється електричний нагрівач, потрібно витримати отвір 400 мм.
Компонування обладнання в приміщенні топкової треба продумати таким чином, щоб дрова або вугілля перебували не ближче, ніж 0.4 м від котла. Складувати їх позаду агрегату не допускається зовсім, там слід виконати підключення до димоходу згідно зі схемою:

Примітка. На схемі показано приєднання до існуючої вертикальній шахті з цегли, що проходить всередині стіни. Монтаж сендвіч-димоходу проводиться відповідно до вимог нормативів, а при виведенні горизонтальної ділянки на вулицю його довжина не повинна перевищувати 1 м.
Підключити котел на твердому паливі Димок можна як до відкритої, так і закритої системи водяного опалення. Але при будь-якому розкладі для обв’язки потрібно придбати групу безпеки (манометр, розповітрювач і запобіжний клапан) і встановити її на подаючий трубопровід близько теплогенератора. При цьому ніякої запірної арматури між котлом та групою безпеки бути не повинно. Схема приєднання до відкритої системи показана нижче:

Рада. Викидний патрубок запобіжного клапана краще направити не в каналізацію, а в ємність з прозорого скла або термостійкого пластику. За наявності в ньому води ви зможете визначити, не перевищується тиск теплоносія у вашу відсутність.
Щоб приєднати агрегат до закритій системі опалення, крім групи безпеки потрібно придбати сітчастий фільтр, циркуляційний насос і кульові крани. Як правильно змонтувати всю цю арматуру, демонструє схема підключення котла:

На жаль, дана схема обв’язки твердопаливного котла не містить елементів захисту від появи конденсату на стінках топки, від якого метал дуже швидко кородує. Щоб цього уникнути, треба виключити попадання холодної води з системи в котел під час розігріву. Ми беремо на себе сміливість доповнити схему виробника змішувальним вузлом з триходовим клапаном, це загальноприйнятий стандарт для підключення твердопаливних агрегатів:

Докладно про шкоду конденсату і способи захисту теплового обладнання показано на відео:
Висновок
Твердопаливні котли Димок як не можна краще відповідають співвідношенню ціна — якість. Крім того, вони невибагливі, надійні та перевірені часом, хоч і не дуже ефективні. Тим не менш агрегати міцно займають свою нішу і користуються попитом у користувачів.
