Зміст:
- Пристрій і принцип роботи пластинчастого теплообмінника
- Технічні характеристики
- Обв’язка теплообмінника
- Висновок
Кожухотрубная конструкція теплообмінника, де середовища рухаються назустріч один одному по трубках, поміщених одна в іншу, поступово йде в минуле. Ці громіздкі пристрої великих габаритів хоча й функціонували досить ефективно, але не могли похвалитися великою витратою нагрівається середовища. Їм на зміну прийшли нові агрегати – швидкісні пластинчасті теплообмінники. Їх устрою, принципу дії та застосування як раз і присвячена дана стаття.
Пристрій і принцип роботи пластинчастого теплообмінника
Конструктивно агрегат докорінно відрізняється від свого кожухотрубного попередника. Площа поверхні обміну теплової енергії в останнього нарощувалася за рахунок збільшення довжини змійовика, звідси і великі габарити апарату. У новому теплообміннику це досягається шляхом збільшення кількості пластин однакової площі.

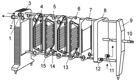
Маючи таку ж потужність, він за розмірами втричі менше кожухотрубного, при цьому здатний забезпечити великий витрата нагрівається середовища, наприклад, води для потреб ГВП. Звідси і виникло друге назва агрегату – швидкісний. Нижче на схемі показано пристрій пластинчастого теплообмінника:

1, 11 – подаючий і зворотний патрубки для підключення гріючої середовища (теплоносія); 2, 12 – вхідний і вихідний патрубки нагрівається середовища; 3 — передня нерухома плита; 4, 14 – отвори для протоку теплоносія; 5 – мала ущільнювальна прокладка у вигляді кільця; 6 – робоча теплообмінна пластина; 7 – верхня напрямна; 8 – задня рухома плита; 9 – задня опора; 10 – шпилька; 13 – велика прокладка по контуру пластини; 15 – нижня напрямна.
На схемі представлений пластинчастий теплообмінник для опалення найпростішої конструкції з патрубками, розташованими по різні сторони агрегату. Між двома плитами, встановленими на двох направляючих, затиснуте певне число пластин з гумовим ущільненням між ними. На кожній пластині з метою збільшення поверхні обміну виконано рельєфне гофрування, як зображено на фото:

Приєднувальні патрубки також можуть знаходитися і з одного боку апарату, на передній плиті, що не впливає на принцип роботи пластинчастого теплообмінника. Він полягає в тому, що простір між кожними наступними пластинами по черзі заповнюється то теплоносієм, то нагрівається середовищем. Черговість заповнення забезпечується формою прокладок, в одній секції вони відкривають шлях потоку теплоносія, в іншій – поглинача тепла.
Під час роботи в кожній секції, крім першої та останньої, відбувається інтенсивний обмін теплом через пластини відразу з двох сторін. Обидві середовища протікають через свої секції назустріч один одному, нагріває подається зверху і виходить через нижній патрубок, а нагрівається – навпаки. Як це працює, відображає функціональна схема пластинчастого теплообмінника:

Технічні характеристики
Пластини і прокладки можуть виготовлятися з різних матеріалів, їх вибір залежить від призначення агрегату, адже сфера застосування подібних теплообмінників досить широка. Ми ж розглядаємо системи опалення та ГВП, де вони виступають у якості теплосилового обладнання. Для цієї сфери пластини робляться з неіржавіючої сталі, а прокладки з гуми EPDM NBR або. У першому випадку теплообмінник з нержавіючої сталі може працювати з водою, нагрітою до максимальної температури 110 ?С, у другому – до 170 ?С.

Для довідки. Дані теплообмінники використовуються і для різних технологічних процесів, коли крізь них протікають кислоти, луги, мастила та інші середовища. Тоді пластини виготовляються з титану, нікелю і різних сплавів, а прокладки – з фторкаучуку, азбесту та інших матеріалів.

Розрахунок і підбір теплообмінника здійснюється за допомогою спеціалізованого програмного забезпечення за такими параметрами:
- необхідна температура нагрівання рідини;
- початкова температура теплоносія;
- необхідний витрата нагрівається середовища;
- витрата теплоносія.
Примітка. Як гріючої середовища, що протікає крізь пластинчастий теплообмінник для ГВП, може виступати вода температурою 95 або 115 ?С, або пар, нагрітий до 180 ? с. Це залежить від типу котельного обладнання. Кількість і розмір пластин підбирається таким чином, щоб на виході отримати воду з максимальною температурою не більше 70 ?С.
Треба сказати, що переваги пластинчастих теплообмінників полягають не тільки в скромних розмірах і здатності забезпечити великий витрата. Справа в тому, що діапазон підбираються площ обміну і витрат у розглянутих агрегатів надзвичайно широкий. Найменші з них мають площу поверхні менше 1 м2 і розраховані на перебіг 0.2 м3 рідини за 1 годину, а найбільші – 2000 м2 при витраті понад 3600 м3/ч. Нижче в таблиці представлені технічні характеристики, які показує експлуатація пластинчастих теплообмінників відомого бренду ALFA LAVAL:

За виконанням теплообмінні агрегати бувають наступних видів:
- розбірні: найбільш поширений варіант, що дозволяє швидко і якісно здійснювати ремонт і обслуговування швидкісного теплообмінника;
- паяні або зварні: такі апарати не мають гумових прокладок, там пластини жорстко з’єднані між собою і поміщені у цільний корпус.

Примітка. Саме паяні теплообмінники багато майстри-умільці використовують для приватного будинку, пристосовуючи їх під нагрів або охолодження води.
Обв’язка теплообмінника
Як правило, установка подібного теплосилового обладнання передбачається в індивідуальних котелень багатоквартирних житлових будинків або промислових підприємств, а також в теплових пунктах централізованих систем теплопостачання. Мета – отримати воду для потреб ГВП температурою до 70 ?С або теплоносій до 95 ?С при використанні парових і високотемпературних водогрійних котлів.

Зважаючи невеликих габаритів і ваги монтаж теплообмінника проводиться досить просто, хоча потужні агрегати і вимагають пристрою фундаменту. У будь-якому випадку виконується заливка фундаментних болтів, за допомогою яких апарат надійно фіксується на своєму місці. Теплоносій завжди підводиться до верхнього патрубка, а зворотний трубопровід приєднується до штуцера, розташованого під ним. Подача води, що нагрівається підключається, навпаки, до нижнього патрубка, а її вихід – до верхнього. Найпростіша схема обв’язки пластинчастого теплообмінника показана нижче:

У контурі подачі теплоносія обов’язково присутній свій циркуляційний насос, встановлений на подаючому трубопроводі. У відповідності з правилами крім робочого насоса паралельно ставиться резервний такої ж потужності. Якщо ж в системі ГВП є магістраль зворотної циркуляції, то схема підключення набуває такий вигляд:

Тут використовується тепло води, що йде по замкнутому контуру ГВП, до нього підмішується холодна з водопроводу і тільки потім суміш надходить у теплообмінник. Регулювання температури на виході здійснює електронний блок, що управляє клапаном на лінії подачі теплоносія. Ну і остання схема – двоступенева, що дозволяє використовувати теплову енергію зворотної лінії системи опалення:

Схема дозволяє суттєво економити, знімаючи зайве навантаження з котлів і використовуючи наявне тепло по максимуму. Слід звернути увагу, що у всіх схемах на вході в швидкісний теплообмінник встановлюються фільтри. Від цього залежить надійна і довговічна робота агрегату.

Висновок
Як показує практика, сучасний пластинчастий теплообмінник все ж трохи поступається старому кожухотрубному по одному критерію. Видаючи велика витрата, швидкісні агрегати трохи недогрівають виходить рідина, цей недолік виявлений фахівцями під час експлуатації. Тому при підборі кількості та площі пластин прийнято робити невеликий запас.
