Зміст:
- Призначення та види димохідних козирків
- Види ковпаків для димоходу
- Рекомендації по вибору
- Як зробити парасолька на димар?
- Висновок
З давніх часів домовласники прагнули облагородити димові труби своїх осель різними декоративними ковпаками, флюгарками і парасольками. Але всі ці насадки служать не тільки для краси, крім цього вони виконують і інші функції. Козирьок на трубу – виріб нехитре, тому найчастіше його виготовляють самостійно. Мета нашої статті – розповісти про ролі, яку відіграє ковпак на трубу димоходу, як здійснити вибір тієї чи іншої насадки або зробити її своїми руками.
Призначення та види димохідних козирків
Що стосується захисних властивостей парасольок, то тут не все так однозначно, як прийнято вважати. Наприклад, коли ведуть мову про призначення різних насадок, то серед інших функцій згадується захист димохідних труб від конденсату.

Це твердження є некоректним, оскільки конденсат утворюється всередині труби від різниці температур продуктів горіння і зовнішнього повітря, а парасолька знаходиться зовні і не має до цього процесу жодного стосунку.
Для чого ж тоді потрібні козирки? Перерахуємо їх основні функції:
- надають зовнішньому ділянці труби естетичний вигляд;
- захищають внутрішню порожнину від потрапляння туди різного сміття і сторонніх предметів;
- подовжують термін служби цегляного димоходу, захищаючи його від опадів;
- збільшують тягу і не дозволяють її перекинути сильних поривів вітру, за умови, що конструкція ковпака це передбачає.
Взагалі-то, декоративні ковпаки жодним чином не покращують тягу димоходу, навпаки, створюють додатковий опір потоку викидаються газів. Винятком є насадки двох типів:
- аналогічні промисловим витяжним дефлектора;
- флюгер – дефлектори.
Принцип роботи першого типу наступний: потік повітря від вітрової навантаження омиває циліндричний кожух дефлектора, з-за чого всередині нього з’являється невелике розрідження.

Виходить, що парасолька – дефлектор тягу все ж підвищує, хоча при відсутності вітру він, навпаки, створює ще більший опір димовим газам. Як це працює, показано на малюнках:

Другий тип набагато ефективніше. Корпус у вигляді напівциліндра з пелюсткою флюгера може обертатися на трубі за рахунок підшипника. Пелюстка забезпечує таке становище корпусу, щоб він постійно був повернутий «спиною до вітру». Таким чином, всередині напівциліндра утворюється розрідження і димова збільшується тяга. Крім того, подібний ковпак димової труби на 100% захищає її від ефекту перекидання тяги при задування вітром. Принцип дії представлений на схемі:

Види ковпаків для димоходу
Всі інші ковпаки на димоходи являють собою найрізноманітніші пристрої, накривають собою зріз труби з певним зазором для виходу продуктів горіння. Різноманітність форм настільки великий, що всі їх перерахувати просто неможливо.

Зате список матеріалів, з яких козирки виготовляються, не настільки вже й великий:
- оцинкована (покрівельна) сталь;
- оцинкований метал з порошковим покриттям поліестер;
- нержавіюча сталь;
- мідь;
- сплав титану з цинком.
Найпростіший парасолька на димохід, зроблений своїми руками, найчастіше виконаний з оцинкованої сталі товщиною до 0.8 мм Це найбільш доступний варіант, до того ж виріб служить досить довго – не менше 20 років. Недолік тільки один – оцинкована поверхня швидко тьмяніє від впливу зовнішнього середовища і парасольку виглядає не дуже естетично. Цього недоліку позбавлений метал з порошковим фарбуванням, з нього теж часто майструють ковпаки, хоча вартість матеріалу дещо дорожче.

Про інші матеріали варто лише сказати, що вони дуже довго зберігають презентабельний зовнішній вигляд, а термін служби виробів з них вимірюється десятиліттями. Хоча мідь на відкритому повітрі теж поступово тьмяніє. Недолік нержавіючої сталі, міді і сплаву полягає в їх значної вартості. Ще дорожче обійдуться ексклюзивні вироби з елементами ковки та флюгерами.

Рекомендації по вибору
Як не дивно, в першу чергу вибір ковпака залежить від типу котельні установки і виду спалюваного палива. Наприклад, насадки на димові труби, які обслуговують газові котли, можна ставити лише однієї конструкції – у вигляді сопла, з відкритим верхом.
Важливо! Нормативні документи Російської Федерації і України суворо забороняють установку усіляких парасольок на димарі всіх газовикористовуючих установок. Можливо, подібні обмеження є і в нормативних базах інших країн, так що перед покупкою насадки слід звернути на це увагу, щоб уникнути неприємностей.

Пояснюються подібні заборони дуже просто. При негативній температурі ковпак димоходу почне обмерзати і покриватися шаром льоду. Останній поступово перекриє більшу частину робочого отвору, диму нікуди буде подітися, а тяга різко знизиться. Результат – угар йде всередину будинку, життя людей наражається на серйозну небезпеку. Нижче – фото, де добре видно обледеніли парасольку:

Причина – конденсат, що випадає на холодному металі при контакті з продуктами горіння з низькою температурою. Таку температуру має дим від котельних установок з високим ККД, тобто – газових. З-за цього ковпак на цегляну трубу димоходу – і то ставити забороняється. Інша справа, коли котел твердопаливний, його ККД варіюється в межах 70-80%, а температура газів на виході – від 150 до 250 ?С. Тут можна сміливо підбирати насадку, особливо на цегляний канал, руйнований опадами. Тільки слід пам’ятати, що вона швидко покриється чорною сажею.
Примітка. Пелетні котли, що працюють на якісному паливі, теж можуть розвивати ККД 90%, так що краще не ризикувати і в якості козирка на трубу використовувати відкрите сопло.
Коли питання з котелень установок прояснено, перейдемо до самої трубі відводу газів. Простіше всього, якщо вона зібрана з тришарового модульного сендвіча, тоді захист димоходу від дощу не потрібно зовсім. Попадання опадів всередину каналу навіть йде йому на користь, труба промивається зсередини, а потім вода відводиться в конденсатосборник. Для газового котла вибираємо сопло, для твердопаливного – яку іншу насадку, краще всього з технічної точки зору – дефлектор-флюгер.
А як бути з цегляною трубою? Немає проблем, коли вона обслуговує твердопаливний котел, можна вибирати ковпак з будь-якого матеріалу і будь-якої форми, за вашим засобів. Якщо ж по каналу відводяться продукти горіння від газового котла, то парасольку на трубу димоходу ставити не можна зовсім, а постійне потрапляння всередину каналу вологи руйнує матеріал. Тим не менше з цієї ситуації вихід є, щоб у цьому переконатися, достатньо поглянути на фото:

Тут добре видно, що ковпак зроблений як захисний короб, повністю перекриває цегляну основу. Оскільки на фото зображена труба з декількома каналами, частина з яких – вентиляційні, то патрубки і парасольки використані різні. Але на димохідних каналах у відповідності з нормами встановлені сопла.
Як зробити парасолька на димар?
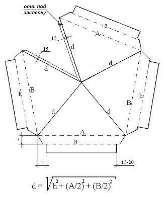
В принципі, при наявності навичок у слюсарній справі димохідний ковпак неважко зробити самостійно. На просторах інтернету можна знайти різні креслення ковпака різних конструкцій. Ми ж дамо рекомендації з виготовлення простої версії парасольки у вигляді четырехскатного грибка. Для початку заготовте простий ескіз на папері, а потім зніміть розміри димоходу за місцем. Результати нанесіть на креслення:

Далі, користуючись формулою і готової розгорткою, наведеними нижче, розрахуйте всі розміри ковпака і приступайте до заготівельних робіт. Для зручності рекомендується вирізати викрійку ножицями з картону в натуральну величину. Потім треба прикласти її до листа металу, обвести гострим предметом і приступати до обрізання.

Рада. Грибок найкраще робити з оцинковки товщиною 0.5 мм небудь з металу з порошковим фарбуванням.
Інші операції проводяться в такій послідовності:
- вирізану заготівлю зігніть початку по лініях з буквою d, а потім – по пунктирам (див. викрійку);
- місця з’єднання ковпака просвердліть і з’єднайте на заклепках;
- виконайте основу та ніжки вироби: для цього візьміть той же метал і зігніть з нього куточки, які потім з’єднайте між собою заклепками;
- четырехскатный козирок на димар з’єднайте з підставою, це можна виконати теж заклепками;
- встановіть готовий виріб на трубу.
Висновок
Звичайно, багатьом домовласникам набагато зручніше купити готовий парасольку або замовити його майстрам, благо, що вибір подібних виробів досить широкий. У деяких випадках інакше і не вийде, наприклад, власноручне виготовлення ковпака у вигляді обертового дефлектора з флюгером навряд чи можливо. Але найпростіші «грибки» зробити з оцинковки зовсім не складно.
