Зміст:
- Що таке біопаливо?
- Отримання біогазу в домашніх умовах
- Виготовлення брикет
- Отримання деревного вугілля
- Висновок
На морських і материкових просторах нашої планети росте величезна кількість біомаси. При цьому людство використовує дуже малу частку енергії, що міститься в цій рослинної маси, вважаючи за краще спалювати вуглеводні. Але часи змінюються і раніше нікому не потрібні відходи стають сировиною для виробництва різних видів біопалива. У продажу з’явилися різні евродрова, пелети і брикети, виготовлені з таких відходів. Однак, якщо вдома є відповідні умови, то чому б і не зробити біопаливо своїми руками? У даному матеріалі буде розказано, з чого і як можна виготовляти пальне в домашніх умовах.

Що таке біопаливо?
Енергія, що ховається в рослинній масі, є практично невичерпною, бо її джерелом служить наше сонце. Рослини вміють використовувати енергію сонця, переробляючи її для свого зростання. У свою чергу, тварини і птахи отримують енергію, харчуючись біомасою, при цьому виробляють продукти життєдіяльності. За визначенням, біопаливо — це паливо, що отримується з сировини рослинного або тваринного походження, а також відходів життєдіяльності і різних виробництв, пов’язаних з обробкою біомаси.
Сучасні технології дозволяють отримувати біопаливо в трьох видах: твердому, рідкому і газоподібному. Тверде пальне ми зустрічаємо в житті найбільш часто у вигляді пелет та різноманітних брикетів, одержуваних методом пресування. Рідке пальне – біодизель – в країнах пострадянського простору поки ще рідкість, це обумовлено наявністю великої кількості копалин вуглеводнів за прийнятною ціною. У той час як отримувати рідке біопаливо з рослинного масла досить дорого і технологічно складно.

Виробництво пального біогазу набагато простіше і дешевше, внаслідок чого набирає все більшу популярність. Власники тваринницьких і птахоферм все частіше замислюються про придбання біогазової установки, адже в їх розпорядженні є величезна кількість посліду і гною, що як не можна краще підходять для цієї мети.
Перераховувати тут всі види рослинної сировини для переробки на паливо, його джерела і технологію виробництва немає сенсу. Нас цікавлять тільки ті види біопалива, які можна успішно отримувати в домашніх умовах, не вкладаючи великих коштів. Ось вони:
- біогаз, який видобувають з продуктів життєдіяльності домашніх тварин і птиці;
- брикети з різних відходів рослинного походження;
- деревне вугілля.

Звичайно, якщо дуже постаратися, то можна самостійно виготовити і пелети, і экодизель, і навіть екобензин. Подібними речами люди займаються в якості хобі, витрачаючи на це роки свого життя і часто чималі кошти. Для широкого кола користувачів такі непрості технології малодоступні, а тому розглядати їх ми не будемо.
Отримання біогазу в домашніх умовах
Горючий газ, що виділяється із гною та інших подібних видів сировини, в основному складається з того ж метану, якими ми звикли користуватися щодня у себе на кухні. Частка метану в біогазі становить від 50 до 70% в залежності від якості сировини і ефективності технологічного процесу. Інші хімічні сполуки у складі газу – негорючі, це двоокис вуглецю і сірководень. Саме завдяки останньому весь процес супроводжується добре нам знайомим запахом.

Газоподібний біопаливо — це горюча речовина, що виділяється в результаті хімічної реакції бродіння органічних відходів без присутності кисню. Тому основним елементом технологічного обладнання є закрита циліндрична ємність (реактор) великої місткості, бажано не менше 1 м3.
Багато домашні умільці застосовують для цієї мети звичайні пластмасові або залізні бочки. Це цілком допустимо, реакція буде відбуватися і в таких судинах. Тільки газу буде виділятися трохи, як результат це невідповідно з витраченим часом і працею. Мінімальна місткість реактора повинна становити хоча б 600 л.
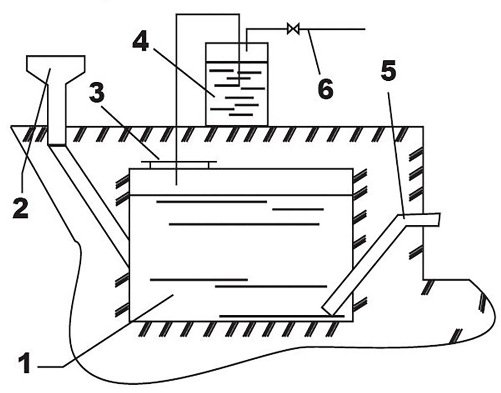
Щоб процес протікав максимально швидко і ефективно, за технологією вміст реактора треба постійно підігрівати до температури 35-40 ° С. У домашніх умовах це не завжди можливо, та й тягне за собою витрати енергоносіїв. Вихід наступний: ємність, з якої відбувається отримання біопалива, краще встановити в досить глибокій ямі, зробленої в землі. В ідеалі дно і стіни ями виконуються з бетону, а верхня виступаюча частина реактора на зиму утеплюється. Як це правильно зроблено, показано на малюнку:

Загальна конструкція установки, що дозволяє виробляти біопаливо з гною, містить наступні елементи (див. схему нижче):
- реактор – посудина з металу циліндричної форми;
- завантажувальний бункер для заповнення реактора субстратом (сумішшю сировини з водою);
- люк для обслуговування;
- зовнішня ємність – водяний затвор для підтримання необхідного тиску в реакторі;
- труба для вивантаження відпрацьованого матеріалу;
- патрубок з краном для подачі біогазу.

Примітка. Для поліпшення бродіння субстрату рекомендується додати в конструкцію шнек кшталт будівельного міксера. Він встановлюється по центру бака, а назовні через ущільнення виводиться рукоятка для періодичного перемішування вмісту.
Технологічний процес виконується наступним чином. Спочатку відходи життєдіяльності потрібно обов’язково подрібнити. Крупність фракції не повинна перевищувати 10 мм, це забезпечить гарне проникнення бактерій, що викликають бродіння. Потім сировину заливається водою і ретельно перемішується. Кількість води – орієнтовно 0.7 л на кожен кілограм гною. Виходить субстрат, з нього видобувається біопаливо в домашніх умовах.
Субстратом заповнюють ємність через бункер, який потім герметично закривається. По мірі можливості вміст треба перемішувати. По закінченні декількох днів починає виділятися горючий газ, його потрібно періодично відкачувати, щоб тиск всередині бака не піднімалося. Це призведе до уповільнення реакції та витіснення вмісту назад в завантажувальний бункер. Для відкачування газу застосовують компресор і звичайний балон для пропану. Докладний опис установки і технології виробництва можна вивчити, переглянувши відео:
Не можна сказати, що виділення біогазу з різних видів гною і посліду – проста справа. Домашнім умільцям доводиться йти шляхом проб і помилок: то пального виділяється занадто мало, то реакція не йде і так далі. Треба розуміти, що для досягнення успіху потрібно чимало зусиль і терпіння, а кількості палива навряд чи вистачить для обігріву будинку. Тим не менш, для роботи газової колонки та кухонної плити його буде цілком достатньо, що вже великий плюс. Як ці прилади функціонують на біогазі, що показано на відео:
Виготовлення брикет
Налагодити будинку виробництво біопалива з тирси, соломи та інших відходів дещо простіше. З обладнання знадобиться лише ручний прес, зроблений спеціально для цієї мети. Його можна придбати в готовому вигляді, замовити майстрам або, при наявності відповідних навичок, виготовити самостійно. Прес заводської готовності коштує чимало грошей, тому останній варіант обійдеться вам дешевше.

Виробництво брикет починається з приготування суміші. В якості сировини використовуються тирса, лушпиння насіння, солома і навіть размоченная макулатура. Звичайно, таке паливо може і так чудово згоріти в печі або твердопаливному котлі, але з-за низької насипної щільності доведеться дуже часто проводити завантаження топки. Готове тверде біопаливо з соломи або тирси буде горіти набагато довше.
Суміш складається з сировини, води і глини, що служить сполучною речовиною. Солому або папір необхідно попередньо подрібнити, змішати з глиною в пропорції 10:1 (на 10 кг відходів 1 кг глини) і водою. Кількість води треба підбирати таким, щоб забезпечити рівномірне перемішування і здатність суміші до формуванню. Не варто додавати в розчин багато глини, не забувайте, що вона залишиться у вашому котлі у вигляді золи.

Сумішшю наповнюється спеціальна форма, потім вона кладеться під прес. Після пресування готовий брикет обережно виймається і розкладається сушитися на сонці. Побачити операцію пресування можна на відео:
Отримання деревного вугілля
Деревне вугілля становлять інтерес для домовласників як паливо, використовуване в домашніх мангалах і барбекю. Не секрет, що купувати подібний вугілля в магазині досить дорого, в той час як вдома його можна випалити безкоштовно, тільки витративши свій час. До речі кажучи, спалювати його в твердопаливних котлах або печах безглуздо набагато простіше закласти в топку звичайні дрова.
Випалюють вугілля з деревини 2 способами:
- у бочках;
- в ямах.

Для першого способу потрібна звичайна сталева бочка 200 л і побутовий пилосос. Останній послужить для нагнітання повітря, тому в нижній частині бочки повинен бути врізаний патрубок для його підключення. На дні ємності розводять вогонь, потім заповнюють її дровами до половини і включають пилосос. Потім деревини накладають доверху, закривають кришкою і замазують глиною. Коли всі прогорить і бочка охолоне, виробляється сортування з метою відокремити деревне вугілля від золи.
Схожим чином деревина обпалюється в ямі. Остання викопується 0.8 м в діаметрі і не більше 0.6 м у глибину. Дно ями утрамбовується, після чого в неї розводять багаття і пошарово накладають дрова довжиною до 30 див Наповнення відбувається по мірі випалювання попереднього шару, процес триває близько 3 годин. В кінці яма накривається гілками і мохом, а зверху присипається землею. Через 2 дні покриття можна знімати і вибирати вугілля.

Висновок
Сучасні технології дозволяють отримувати пальне з різних видів біомаси, в деяких приморських країнах навіть виробляють біопаливо з водоростей. Але на даний момент пересічному домовласникові доступні лише описані способи, інші обійдуться дуже дорого. Простіше і дешевше робити брикети, особливо коли в будинку встановлено твердопаливний котел.
