Зміст:
- Загальні відомості про біогазі
- Технологія одержання біогазу
- Схема біогазової установки
- Як отримати біогаз в домашніх умовах?
- Висновок
Питання отримання метану цікавий тим власникам приватних господарств, хто займається розведенням птиці або свиней, а також тримає крупнорогатый худобу. Як правило, в таких господарствах виробляється значна кількість органічних відходів життєдіяльності тварин, вони-то і можуть принести чималу користь, ставши джерелом дешевого палива. Мета даного матеріалу – розповісти, як добути біогаз в домашніх умовах, використовуючи ці самі відходи.
Загальні відомості про біогазі
Одержуваний з різного гною і пташиного посліду домашній біогаз здебільшого складається з метану. Там його від 50 до 80% в залежності від того, чиї відходи життєдіяльності використовувалися для виробництва. Того самого метану, що горить в наших плитах і котлах, і за який ми платимо часом чималі гроші згідно з показаннями лічильника.

Щоб дати уявлення про кількість пального, що теоретично можна добути при утриманні тварин будинку або на дачі, наведемо таблицю з даними про вихід біогазу та утриманні в ньому чистого метану:

Як можна зрозуміти з таблиці, для ефективного виробництва газу з коров’ячого гною і силосних відходів знадобиться досить велика кількість сировини. Вигідніше добувати пальне з гною свиней та посліду індиків.
Частка, що залишилася речовин (25-45%), з яких складається домашній біогаз, припадає на вуглекислий газ (до 43%) і сірководень (1%). Також у складі пального присутній азот, аміак і кисень, але в незначних кількостях. До речі, саме завдяки виділенню сірководню і аміаку гнойова купа видає такий знайомий «приємний» запах. Що стосується енергетичного змісту, то 1 м3 метану теоретично може виділити при спалюванні до 25 МДж (6.95 кВт) теплової енергії. Питома теплота згоряння біогазу залежить від частки метану в його складі.
Для довідки. На практиці перевірено, що для обігріву утепленого будинку, що знаходиться в середній смузі, потрібно близько 45 м3 біологічного пального на 1 м2 площі за опалювальний сезон.
Природою влаштовано так, що біогаз з гною утворюється спонтанно і незалежно від того, хочемо отримувати чи ні. Гнойова купа перегниває протягом року – півтора, просто перебуваючи на відкритому повітрі і навіть при негативній температурі. Весь цей час вона виділяє біогаз, але тільки в невеликих кількостях, оскільки процес розтягнутий у часі. Причиною служать сотні видів мікроорганізмів, що знаходяться в екскрементах тварин. Тобто, для початку газовиділення нічого не потрібно, воно буде відбуватися самостійно. А ось для оптимізації процесу і його прискорення буде потрібно спеціальне обладнання, про що піде мова далі.
Технологія одержання біогазу
Суть ефективного виробництва — прискорення природного процесу розкладання органічної сировини. Для цього знаходяться в ньому бактерій необхідно створити найкращі умови для розмноження і переробки відходів. І перша умова – помістити сировину в закриту ємність – реактор, інакше — генератор біогазу. Відходи подрібнюються і перемішуються в реакторі з розрахунковою кількістю чистої води до отримання вихідного субстрату.

Примітка. Чиста вода необхідна для того, щоб субстрат не потрапили речовини, що згубно впливають на життєдіяльність бактерій. Як наслідок, процес бродіння може значно сповільнитися.

Промислова установка по виробництву біогазу обладнана підігрівом субстрату, засобами перемішування і контролю над кислотністю середовища. Перемішування виконується з метою видалення з поверхні тверду кірку, що виникає під час бродіння і заважає виділення біогазу. Тривалість технологічного процесу – не менше 15 днів, за цей час ступінь розкладання досягає 25%. Вважається, що максимальний вихід пального відбувається до 33% розкладання біомаси.

Технологією передбачається щоденне оновлення субстрату, так забезпечується інтенсивне отримання газу з гною, в промислових установках воно обчислюється сотнями кубічних метрів в день. Частина відпрацьованої маси в розмірі близько 5% від загального обсягу видаляється з реактора, а на її місце завантажується стільки ж свіжого біологічної сировини. Відпрацьований матеріал використовується в якості органічного добрива полів.
Схема біогазової установки
Отримуючи біогаз в домашніх умовах неможливо створити такі сприятливі умови для мікроорганізмів, як у промисловому виробництві. І в першу чергу це твердження стосується організації підігріву генератора. Як відомо, це вимагає витрат енергії, що веде до істотного подорожчання собівартості пального. Контролювати дотримання слаболужною середовища, властивої процесу бродіння, цілком можливо. Тільки як її коригувати у випадку відхилень? Знову витрати.

Власникам приватних господарств, які бажають добувати біогаз своїми руками, рекомендується виготовити реактор простій конструкції з доступних матеріалів, а потім його модернізувати в силу своїх можливостей. Що треба зробити:
- герметично закриту ємність об’ємом не менше 1 м3. Різні баки і бочки малих розмірів теж підійдуть, але пального з них буде виділятися мало з-за недостатньої кількості сировини. Такі обсяги виробництва вас не влаштують;
- організовуючи виробництво біогазу в домашніх умовах, ви навряд чи станете робити підігрів ємності, а ось утеплити її потрібно обов’язково. Інший варіант – заглибити реактор в землю, виконавши теплову ізоляцію верхній частині;
- встановити в реакторі ручну мішалку будь-якої конструкції, вивівши рукоятку через верхню кришку. Вузол проходу ручки повинен бути герметичним;
- передбачити патрубки для подачі і вивантаження субстрату, а також для відбору біогазу.
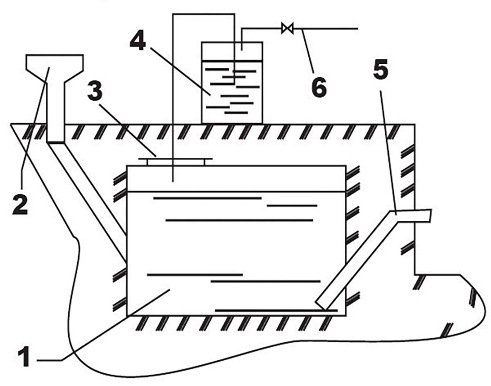
Нижче показана схема біогазової установки, розміщеної нижче рівня землі:

1 – генератор пального (ємність з металу, пластику або бетону); 2 — бункер для заливки субстрату; 3 – технічний люк; 4 – посудина, що грає роль водяного затвора; 5 – патрубок вивантаження відпрацьованих відходів; 6 – патрубок відбору біогазу.
Як отримати біогаз в домашніх умовах?
Перша операція – подрібнення відходів до фракції, чий розмір не більше 10 мм. Так набагато легше приготувати субстрат, так і бактеріям буде простіше переробляти сировину. Отримана маса ретельно перемішується з водою, її кількість – близько 0.7 л на 1 кг органіки. Як вже сказано вище, воду слід використовувати тільки чисту. Потім субстратом заповнюється біогазова установка, зроблена своїми руками, після чого реактор герметично закривається.

Кілька разів протягом дня треба навідуватися до ємності, щоб перемішати вміст. На 5-й день можна перевіряти наявність газу, і буде він з’явиться, періодично відкачувати його компресором в балон. Якщо цього вчасно не зробити, то тиск усередині реактора зросте і бродіння сповільниться, а то й зупиниться зовсім. Через 15 днів треба проводити вивантаження частини субстрату і додавання такого ж кількість нового. Подробиці можна дізнатися, переглянувши відео:
Висновок
Цілком ймовірно, що найпростіша установка для отримання біогазу не забезпечить всі ваші потреби. Але, враховуючи нинішню вартість енергоресурсів, це вже буде чималим підмогою в домашньому господарстві, адже за вихідне сировину вам платити не доводиться. З часом, щільно займаючись виробництвом, ви зможете відчути всі особливості і провести необхідне удосконалення установки.
