Проблемна проводка у старих квартирах
Квартири старого зразка, іменовані «хрущовками», мають відразу безліч проблем з електропроводкою:
Алюмінієві дроти з ізоляцією одинарною
Відсутність заземлення
Відсутність пристроїв захисного відключення
Недостатня кількість розеток у житлових кімнатах і кухні
Розводка проводів зроблена методом розгалуження
Все це абсолютно не підходить під потреби сучасної людини і його квартири, де знаходиться, а часто й одночасно працює, відразу кілька електроприладів (плита, мікрохвильова піч, електроніка, пральна машина, бойлер, кондиціонер та інше).
Етапи заміни проводки в квартирі
Хаотичність при заміні проводки не вітається, тому потрібно дотримуватися строгого плану:
Накреслити схему електропроводки
Підібрати автомати і дроти
Підготувати план розводки затвердити його в энергослужбе
Потроїти врем’янку
Прокласти проводку
Монтувати УЗО, розетки, вимикачі та електроприлади
Важливо! Перш ніж почнуться роботи по заміні проводки, потрібно влаштувати захисне заземлення.
Як скласти схему електропроводки
Така схема являє собою спеціальний креслення квартири, де позначено:
Розташування розеток і вимикачів
Джерел освітлення
Електроприладів
Розподільних коробів
Електричного щитка
Всіх проводів
У сучасних квартирах кожна група енергоспоживачів має свій кабель. Завдяки цьому, при поломці, електрика відключається тільки в проблемній зоні, інша ж частина квартири залишається робочої.
До ванній кімнаті пред’являються окремі вимоги — тут обов’язково має бути УЗО, так як це приміщення з підвищеною вологістю.
Схема електропроводки має приблизно ось такий вигляд (природно, індивідуальний для кожної квартири):

Підбір автоматів, проводів, складання схеми
Для сучасних квартир потрібно обов’язково здійснити заміну вхідних автоматів і встановити УЗО.
Підбір автоматів виконується таким чином:
Для всієї квартири: типономинал від 25 до 32 А, ПЗВ — 50 і 30 мкА
Для кухні: 25 А, УЗО на 30 і 30 мкА (перетин дроту — 4 мм2)
Для кондиціонера: 16 А, ПЗВ — 30 і 30 мкА (перетин — 2.5 мм2)
Для освітлення: тип B, типономинал — 10 А
Для розеток: типономинал — 16 А
Дроту з алюмінію обов’язково замінюються на мідні, які набагато краще проводять струм і довше служать, завдяки своїй гнучкості та міцності.
Увага! Ні в якому разі не можна з’єднувати мідні дроти зі старими алюмінієвими, так як в місці з’єднання почнеться окислювальний процес, який призведе до руйнування контакту.
Найбільш часто в квартирах використовуються дроти марки ВВГ і ВВГ НГ (негорючий провід).
Для розеток вибирається 3-жильний кабель з перерізом від 2,5 мм2. Для освітлювальних приладів буде достатньо 2-жильного кабелю перетином 1,5 мм2. А ось для досить потужної електричної плити потрібен 3-жильний кабель діаметром 4 мм2.
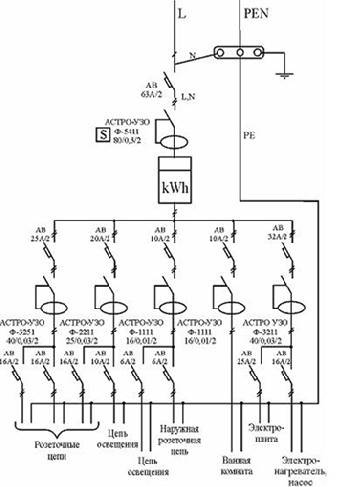
Згідно з підібраними автоматами складається ще одна схема — електропостачання.
Її графічний вигляд:

І схематичний:

Креслити її потрібно починати з лічильника (на схемі — kWh), потім іде УЗО і всі інші елементи електромережі.
Інфо! На схемі проводу перекреслені косими рисками — це означає, що там всього два дроти: нульовий і фазний. Якщо ще є заземлення, то рисок має бути 3.
Букви L, N і PE — це закордонне позначення фазного, нульового і заземленого проводу. На схемі провід «землі» (PE) йде окремо.
Для уточнення того, як виглядають ті чи інші позначення, потрібно звертатися до Правил пристрою електроустановок споживачів (ПУЕ) або ж до ГОСТу 2.755-87.
Як ставити план електропроводки
Самим відповідальним і важливим моментом вважається складання плану електропроводки. Адже саме цей документ буде відправлятися на затвердження в энергослужбу.
Він має ось такий, вже зовсім серйозний вигляд:

Щоб зробити його швидко і правильно, потрібно взяти в БТІ план своєї квартири і перекреслити його на чистий аркуш відповідного розміру. При цьому не потрібно переносити ніяких старих позначень — повинні залишитися контури кімнат, площа і все, що не стосується електропроводки, розміщення електричних приладів, освітлення, розеток. Все це потрібно буде наносити самостійно, у відповідності з тим, що заплановано при заміні проводки.
На аркуші не повинно бути ніяких помарок, краще буде потім начисто все перекреслити.
Після цього, якщо все складено правильно, план буде затверджений і можна приступати до демонтированною старої проводки і монтажу нової.
Монтаж проводки
Перед тим, як приступати до демонтажу і монтажу проводки, потрібно зібрати всі необхідні інструменти:
Перфоратор з розміром бура не менше 16 мм
Корончатое свердло (90-100 мм) і долото (25-30 мм) для бетону
Болгарку з колом для різання каменю
Індикатор-фазоуказатель і мультиметр
Паяльник
Монтажний ніж
Викрутки, бокорізи і пасатижі з ізольованими ручками
Ліхтар та електричну переносну лампу
Алебастр і шапетль
Рівень і шнур для контролю точності пробивання штроб
А також пристрої та матеріали:
Клемники

Підрозетники
Електропровідну мастило
Кабелю
Гофр для кабелю
Розподільчий щит
Пристрій времянки
Під час робіт з електропроводкою обов’язково знадобиться електрику для роботи перфоратора, болгарки і подачі світла. Для цього потрібно буде влаштувати врем’янку, яка являє собою конструкцію їх дерев’яного або пластикового бруса, розетки і подовжувачі. Все це виводиться з квартири і живиться від зовнішнього лічильника.
Видалення старої проводки
Важливо! Перед якимись роботами (ще на стадії пристрою времянки), слід обов’язково відключити електрику, перевірити його відсутність мультиметром і вже тоді приступати до демонтажу проводки.
Демонтаж починається від розподільних коробів, які зазвичай розташовані під стелею. Відкривши короб, потрібно знайти вступний провід і прибрати його або ж обрізати і заізолювати. Потім вже можна видаляти всі інші проводи.
Штроблення стін (при прокладці проводки в нових штробах)
Штробити стіни можна тільки по двох напрямах: горизонтальному і вертикальному. Будь-яка кривизна потім вилізе боком і призведе до аварійних ситуацій.
За допомогою перфоратора визначаються межі: ширина і довжина канавки, які потім видовбуються долотом вручну. Якщо потрібно зробити кут, то доведеться зробити косий зріз за допомогою болгарки і вибити лунку, тоді гофр з кабелем ляже рівно і без різких вигинів.
Щоб видовбати отвір для підрозетника, потрібно скористатися коронкою, яка надівається на перфоратор.
Важливо! Коронка підійде тільки для стін, виконаних з цегли, для бетонних потрібно буде скористатися долотом, так як коронка просто розсиплеться, потрапивши на арматуру.
Всі лунки для підрозетників виконуються на тій відстані, на якому ними буде зручно користуватися.
Рада! Розетку для кондиціонера потрібно розміщувати вище всіх інших, щоб шнур від обладнання не бовтався на увазі.
Прокладка проводів
Перш ніж почати укладати проводу в штроби, потрібно підготувати їх відповідні відрізки, а до них — гофр. Потім на підлозі дроти затягуються в гофр, і все це розміщується в штробах, а кінці проводів заводяться в підрозетники.

Підрозетники і штроби замазують розчином: підрозетники —по всій окружності, а штроби — окремими відрізками через кожні 0.5 метра.
Як тільки укладання буде завершена, потрібно завести вступний провід в електрощит і змастити термопроводящей пастою. Все це добре закріплюється і з’єднується з заземлюючою клемою, після чого щиток кріпиться дюбелями до стіни.

Далі потрібно відключити квартиру, провести в щиток дроту від лічильника і провід заземлення, який повинен бути приєднаний до корпусу щитка. Привід від лічильника ізолюється і укладаються в вступний електрощит.

Потім вся конструкція закріплюється і можна приступати до оштукатурювання стін.
Важливо! Перед оштукатурюванням потрібно попередньо натолкать в усі штроби ганчірок або поролону і закрити щиток плівкою.
Заключний етап заміни проводки
Коли все буде поштукатурена і забарвлене, залишиться тільки очистити підрозетники і встановити розетки, вимикачі та світильники.
Тепер найважливіше: кожна гілка проводів повинна бути перевірена тестером на коротке замикання. Для цього потрібно на час подати струм і знайти індикатором нуль і фазу, які йдуть від лічильника. І тільки після їх визначення можна ввести потрібні дроти у відповідні клемники.
Важливо! Навіть після того, як дроти введені в клемники, потрібно ще раз все перевірити їх на коротке замикання, а вже потім включати головний автомат і подавати струм в квартиру.
Після контрольної перевірки слід перевірити роботу розеток і світильників.
Зручності ремонту нової електропроводки
Після установки нової електропроводки, можна довгий час не турбуватися про її справності. Але якщо ж неполадки з будь-яких причин виникли, то достатньо буде скористатися складеної раніше схемою електропроводки, знайти ділянку, де виникла проблема, і перевірити кожну розподільну коробку на справність з’єднань і з допомогою «прозвонки» виявити пошкоджений провід.
Рада! Продзвонювання — це дуже корисне для кожного домашнього умільця і прихованої проводки пристрій. Воно складається із звичайної батарейки, лампочки, сполучних проводів і затискачів.

Самостійна заміна та ремонт електропроводки — це найбільш складний і відповідальний етап ремонту квартири. Вони вимагають ретельного підходу до всього: до розробки плану електропроводки, прокладанні проводів, підключення енергоспоживачів. Часто трапляється, що лише одна помилка може стати причиною виникнення пожежі.
